

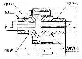
TL(LT)型弹性套柱销联轴器 特点及应用场合:具有补偿两轴线相对偏移和减振、缓冲性能,结构简单,制造容易,不需润滑,维修方便,径向尺寸较大,适用于安装底座刚性好,对中精度较高,冲击载荷不大,对减振要求不高的轴系传动,适用范围-广,是我国早通用标准联轴器。不适用于高-速和低速重载工况条件。
TL(LT)型--基本型;
TLL(LTZ)型--带制动轮型;

TL(LT)型弹性套柱销联轴器参数及主要尺寸:(GB/T4323-84<2002>) mm


公司生产地址:江苏省镇江市高新技术开发园区68号
销售中心地址:江苏省镇江丁卯开发区智慧大道668号705室
手机:孙女士 18952800101
QQ:1991897647
电话:0511-85788529
传真:0511-85019680(自动接收)
企业邮箱:sales@lzqgs.cn
Copyright © 丹阳市开发区福克联轴器厂 版权所有 苏ICP备19059311号-2
苏公网安备32111202000940号 技术支持:江苏易润
专业生产:弹性联轴器 | 弹性柱销联轴器 | 弹性星型联轴器 | 梅花形弹性联轴器 | 中间轴柱销齿式联轴器